We at PC Gamer celebrate ingenuity. Where would our hobby be, were it not for the tinkering and experimentation of inventive minds? And yet, not all inventions are created equal. Just as we admire the drive to improve and innovate, we also admire the willingness to stop and ask, "Dear god, what horrors have these hands wrought?"
Unfortunately, that presence of mind was seemingly absent during the conception of US Patent Application Publication No. 2025/0229172 A1: "Multi-functional gaming input device with combined mouse and joystick," which melds gamepad and mouse in a configuration that somehow manages to offend every possible aesthetic, ergonomic, and spiritual sensibility.

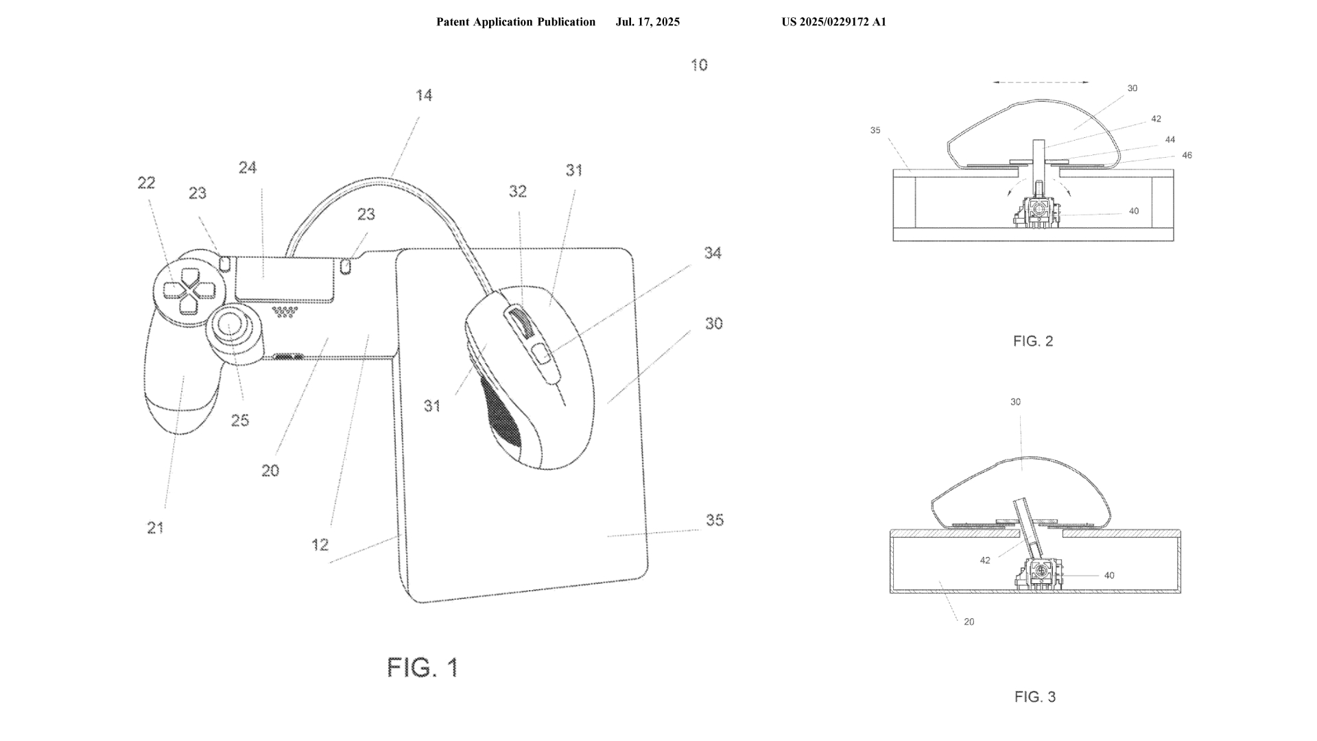
The misbegotten proposed peripheral first bubbled its way into public awareness via the Tumblr account contextfreepatentart, and I couldn't help but track it down through the USPTO's patent database to behold the fullness of its grim majesty.
It is, essentially, a DualShock 4 controller that's been subjected to a grim body horror transformation. It's controller by way of Cronenberg: Where one might expect their hand to rest upon a right analog stick and grip, the patent art instead sees the controller's right side splay outwards with non-Euclidean hubris into an unwarranted and unholy expanse of mousepad.
From the controller's crown extends a dire umbilical, anchored to a mouse that should not be. The peripheral, the patent application says, "introduces an interactive input device designed to enhance the video gaming experience by integrating a mouse-based control system with traditional gaming interfaces."
The patent application doesn't attempt to explain how someone is expected to hold and operate the device as conceived and illustrated. It does note, however, that "a strategically placed rubber sheet between the mouse and the base ensures the mouse's smooth and steady movement." So that's good, at least.
In all seriousness, there's some merit to the idea of melding controller and mouse inputs. Mouse plus stick—you'd be liberated from the cardinal inputs of WASD movement, while maintaining the precision of mouse aiming. It's not surprising, then, that peripheral manufacturers have already tried to create exactly that concept with products like the Asus ROG Chakram and the PlayStation-specific Hori Tactical Assault Commander Grip Controller.
Given that the "mouse with a little thumbstick on there" concept hasn't taken off yet, it seems like there's room in the market for competitors. Looking at the evidence before us, however, it looks like all the good patent concepts have already been nabbed. Just because you can conceive of a new way to stitch existing hardware concepts together doesn't mean you should.
That said, if I found this thing at a Goodwill? I'd be tempted, in a "tempted by an artifact of accursed power" kinda way.