New Truck, New Ideas
Right now, Hyundai’s only truck in the US is the Santa Cruz. But the brand has already said it’s building a proper, full-size pickup for American buyers before the decade is out.
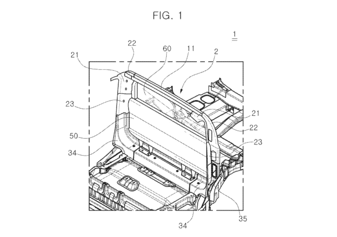
Hyundai has been testing out modular features like removable doors, but now there’s another idea in the mix: a midgate. New patent documents show Hyundai is working out how a midgate could fit into a modern pickup, with a focus on something most people only notice when it goes wrong: water management.
The patent, filed November 19, 2024, lays down a solution to route water away from the cabin when the midgate is open. It’s a small detail on paper, but it’s the kind of thing that makes or breaks real-world practicality.
USPTO
A Practical Improvement for Midgates
The United States Patent and Trademark Office (USPTO) published the filing in December 2025 (patent no. 20250376016 if you want to check). No, the patent doesn’t try to reinvent the midgate, but it digs into the less flashy side of the design.
Hyundai’s midgate design builds in a drainage system that directs water away from the cabin, whether the midgate is open or rain is running down the rear glass. Think of it as a gutter molded right into the body, with shaped panels and channels guiding water down and out. Instead of just depending on rubber seals, this setup keeps moisture away from the interior, wiring, and cargo area.
This is the sort of engineering detail you won’t see in glossy marketing shots, but it can make a real difference in daily use. Of course, like most patents, there’s no promise this will ever reach production. Automakers often file these to protect ideas or test solutions without committing to building them.
USPTO
Midgates Aren’t New, But They’re Rare
The idea of a midgate isn’t exactly groundbreaking. In the US, the most visible examples today come from General Motors’ electric pickups, namely the Chevrolet Silverado EV and GMC Sierra EV, both of which use a MultiPro Midgate to open up the cab and bed into one long cargo area. These setups trace their roots back to earlier vehicles like the Chevy Avalanche and Cadillac Escalade EXT.
Other brands have tried midgates before, like the Subaru Baja and GMC Envoy XUV, but the idea never really caught on. Today, only GM’s electric trucks use the concept in a big way, thanks to the extra space electric platforms allow.
Whether this idea ends up in a future Santa Cruz remains unclear, especially since there’s no word yet on a next-gen model. Still, with the Santa Cruz’s small bed, more flexibility would be welcome. More likely, Hyundai is laying the groundwork for its upcoming midsize pickup, where a midgate could make a lot of sense.
USPTO


